一、设计背景
1. 以往幽灵的进化路线过为单一
2. 以往幽灵死亡降级,玩家感觉受到惩罚
3. 手机机能发展,性能变强
4. 玩家喜欢老地图,又渴望得到新的结构

二、玩法介绍
1.在终结者模式的基础上,引入了宝箱的概念,让人类和僵尸都可以通过拾取宝箱来进行升级。此外,引入了新的大地图,将生化模式的玩家人数提升到了32人。
2. 引入了新的大地图决战赤壁,并且重新装修了老地图生化酒店,增加了可玩性的区域,同时调整了部分交互地形的玩法。

绿色宝箱

蓝色宝箱

红色宝箱

新生化酒店地图

决战赤壁地图
三、 玩法流程
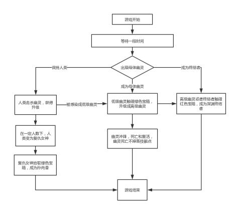
1.流程图:

文字叙述:
1. 玩家进入游戏,在每局开始等待一段时间后,出现一个终结者和若干个母体幽灵;
2. 人类通过击杀幽灵获得升级。幽灵通过感染人类或者拾取绿色宝箱进行升级,且幽灵死亡不会损失升级进度;
3. 在一段时间后,出现红色宝箱,终结者或者高级幽灵拾取宝箱变为深渊终结者;
4. 在人类只剩一定数量后,人类可变为英雄,英雄拾取蓝色宝箱可变为超级英雄。

四、玩法特色
1.增加双方阵营的进化树,使得双方阵营都能够获得新的成长。同时,对各自的特点进行了加强,幽灵增强了破点能力,人类增加了续航和攻击力。
2.32人大地图,增加了单局内玩家的人数。
3.幽灵可以通过拾取补给箱的方式获取升级点,重生的时候并不会减少获取的进化点
4.引入了新幽灵,深渊终结者,并且普通幽灵和终结者都有方法变成深渊终结者。